
Фантастический гаджет!
Представьте на минутку, летающий планшет. Вы готовите новое блюдо, а перед вами летает устройство с открытым рецептом. И вам не нужно постоянно подсматривать, касаясь смартфон запачканными руками.
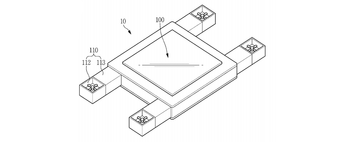
Пока мы представляем, Samsung уже действует. Американское патентное ведомство, на днях предоставило компании патент на странную разработку Flying Display Device, в переводе «летающее устройство с дисплеем». Прикреплены рисунки разработки, которые удивляют еще больше.

Впрочем, подобные устройства мы видели во многих фантастических фильмах, поэтому, мне будущий гаджет уже нравится!
Официальное название – беспилотный летательный аппарат, проще – квадрокоптер. По четырем краям плоского квадратного корпуса расположились четыре пропеллера. Экран довольно большой, и сможет принимать вертикальное положение, для удобного просмотра контента.

Новинку оснастят блоком питания, гироскопом, акселерометром, датчиком движения, системой обхода препятствий, GPS, системой позиционирования по Wi-Fi.
Дрон будет распознавать лица и взгляд. Например, если посмотреть на него и поднять взгляд вверх – гаджет взлетит. Поддерживается распознавание жестов и управление голосом.
Получится инновационный гаджет, интересный и полезный. Надеемся, патент превратится в реальный объект, у Samsung для этого есть все возможности.
Skay.ua в Telegram
Подписывайтесь на информационные каналы в Telegram, где информация разделена по вашим интересам. Выбирайте подходящий:
Skay.ua Android – актуальные новости, полезные советы для устройств на ОС Android.
Skay.ua Apple - актуальные новости, полезные советы для устройств на iOS.
Skay Play – новые поступления игр на Sony PS и возможность их обмена.




















