
Магнитный многофункциональный чехол для Apple Watch. Посмотрим?
С появлением Apple Watch компания параллельно разработала множество аксессуаров для удобного использования своей продукции и продолжают усовершенствовать их. На прошлой неделе компания Apple получила патент на необычный чехол с магнитными элементами.

Универсальный аксессуар, благодаря своим магнитным свойствам, сможет выполнять следующие функции:
- защиты гаджета от повреждений в целом;
- роль ремешка;
- необычной подставки;
- крепления на различные приборы.
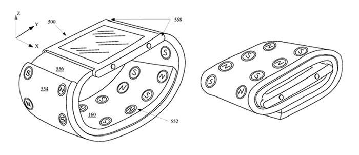
До сегодняшнего дня, защитные функции любимого гаджета выполнял чехол-бампер, защищающий непосредственно корпус. Новый магнитный чехол защитит Ваш Apple Watch полностью, с обеих сторон, что поможет сохранить часы в надлежащем виде на долгий срок. Новинка выполнена из ковкого материала, который обеспечивает чехлу абсолютную пластичность и возможность деформации без разрушений. Теперь удары и падения не страшны для Вашего гаджета. В материале присутствуют магнитные элементы, которые могут повторяться между собой. Именно эта особенность позволяет чехлу оборачивать часы с двух сторон и полностью защищать их.

Теперь Ваш гаджет будет всегда на виду. Благодаря магнитному чехлу, часы можно прикрепить к MacBook, холодильнику и другим бытовым предметам. Данный патент был придуман Эриком де Йонг в августе 2015.




















